本閥參照Armstrong技術,關閉后任何方向全方位密封。本閥主要適用于火電廠干灰系統灰、渣的透氣平衡啟閉之用,也適用于礦山、石灰廠、水泥廠等有磨損、腐蝕的粉塵介質的透氣平衡啟閉。本閥門具有密封性能好,耐高溫,耐磨性強,啟閉靈活,無卡灰及積灰現象,使用壽命長等優點。
◎工作原理
當氣源從上進氣口通入時,氣缸桿帶動閥板向下運動,閥門關閉。當氣源從下進氣口通入時話,氣缸桿帶動閥板向上運動,閥門開啟。閥板與密封環之間加載彈簧,彈簧力始終使閥板壓向密封環,又容許閥板在垂直上下方向移動,這有助于補償閥門零件的熱脹冷縮,并能克服任何背壓變化對密封的影響與防止顆粒介質進入兩密封面之間。在啟閉過程中,閥板能產生自轉,使得密封面之間產生研磨、拋光作用,而且由于閥體對通道偏心,在開啟排卸物料時,會產生渦流,形成的物料旋渦會自行清掃閥門內腔,所有的這些特點,使得這種閥門具有超長的使用壽命,為您的系統安全運行了可靠的保證。
◎技術參數
公稱壓力:1.0MPa
強度試驗:1.5MPa
介質溫度:<450℃
密封試驗:1.1MPa

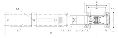
◎主要零部件材料及名稱
序號 名稱 材料
1 閥體 球墨鑄鐵
2 側閥體 球墨鑄鐵
3 密封環 耐熱鋼+硬質合金
4 閥板 耐熱鋼+硬質合金
5 連接件 鑄鋼
6 堵頭 45#鋼
7 碟簧 60Si2MnA
8 氣動執行機構 鋁制氣缸
中國.上玉集團有限公司是專業生產特殊閥門的廠家,陶瓷雙閘板出料閥訂貨須知:
一、①陶瓷雙閘板出料閥產品名稱與型號②陶瓷雙閘板出料閥口徑③陶瓷雙閘板出料閥是否帶附件以便我們的為您正確選型。
二、若已經由設計單位選定的陶瓷雙閘板出料閥型號,請按陶瓷雙閘板出料閥型號直接向我公司銷售部訂購。
三、當使用的場合非常重要或環境比較復雜時,請您盡量提供設計圖紙和詳細參數,由我們上玉集團的專家為您審核把關。
感謝您訪問上玉集團公司網站,如有任何疑問您可以撥打我們的全國熱線電話:400-887-6587,我們一定會盡心盡力為您提供優質的服務。